HOME | PRODOTTI | TERMOMETRI | TERMOMETRI DI VETRO | TV 424

• Diametri nominali
- 180 x 55 e 250 x 55.
• Custodia
- di alluminio verniciato con polvere epossidica nera.
• Grado di protezione della custodia (secondo EN 60529)
- IP 54.
• Trasparente
- di vetro.
• Capillare termometrico
- di vetro a sezione prismatica, a riflesso colorato.
• Campi di scala (vedere tabella TV 1)
o Campi di numerazione: - 0 ÷ 80; 0 ÷ 100; 0 ÷ 120; 0 ÷ 160; 0 ÷ 250; -30 ÷ +70; -20 ÷ +80; -20 ÷ +140; -10 ÷ +50; +100 ÷ +500; +200 ÷ +600.
o Unità di temperatura:
- °C (gradi Celsius).
o Esecuzione:
- standard secondo tabella TV 1;
- speciale.
nota: i campi di misura +100 ÷ +500 °C e +200 ÷ +600 °C non sono realizzabili per il modello TV 424-S.
• Quadrante
- di alluminio con scale graduate e scritte in nero indelebile su fondo bianco.
• Precisione
- classe 1 (± 1% r.v.f.s.).
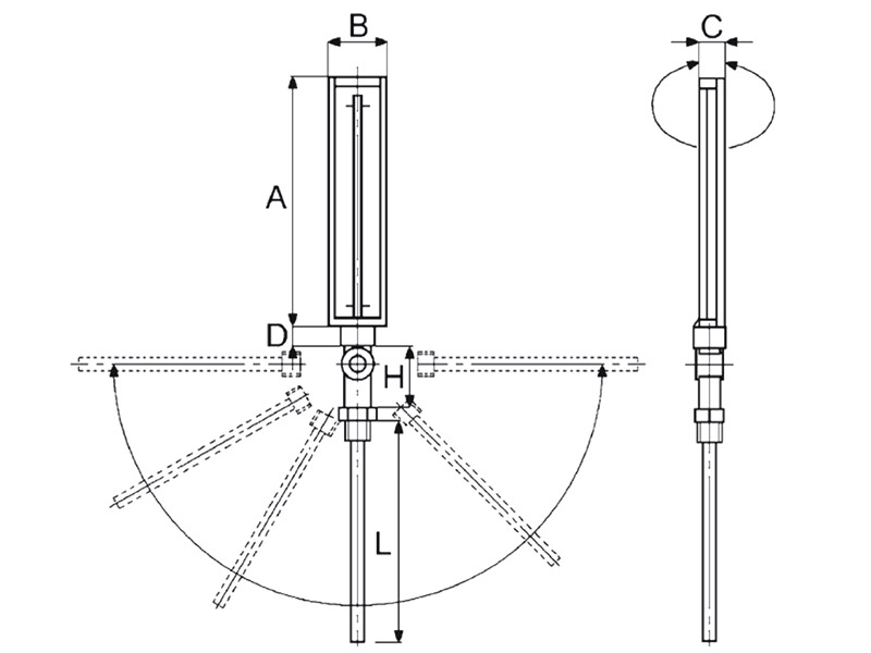
• Giunto snodato (TV 424-S) di lega leggera con bloccaggio a vite - questo snodo consente di variare l’angolazione del gambo o del pozzetto quando esistono difficoltà di posizionamento; inoltre l’ulteriore rotazione della custodia sia a destra che a sinistra, consente di ottimizzare la lettura dello strumento.
• Gambo sensibile cilindrico diametro 12 mm, in lunghezza L (compreso filetto) da stabilire, compresa fra un minimo di 80 mm ed un massimo di 400 mm:
- di ottone (esecuzione G1);
- di acciaio inox AISI 316 (esecuzione G2).
• Attacco filettato maschio M da:
- G 1/2 B (1/2 Gas o BSP);
- 1/2-14 NPT EXT (1/2 NPT);
- altri su richiesta.
• Pozzetto
o Materiale: tubo diametro 15 mm, in lunghezza U (escluso filetto) da stabilire:
- di ottone (esecuzione P1);
- di acciaio inox AISI 316 (esecuzione P2).
o Attacco filettato maschio M:
- G 1/2 B (1/2 Gas o BSP);
- 1/2-14 NPT EXT (1/2 NPT);
- altri su richiesta.
TV 424
TV 426