HOME | PRODOTTI | TERMOMETRI | TERMOMETRI BIMETALLICI | BT 387

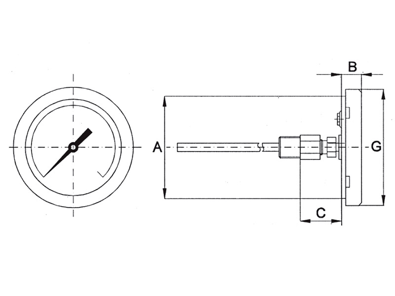
• Diametri nominali
- 80,100,125 e 150.
• Custodia
- cassa e anello di acciaio inox AISI 304 (AISI 316 su richiesta - variante V61) con serraggio a baionetta.
• Dispositivo di regolazione della taratura dall’esterno (solo per cassa di AISI 304).
• Grado di protezione della custodia (secondo EN 60529)
- IP 55 per l’esecuzione a secco;
- IP 67 (variante V66 e V72).
• Trasparente
- di vetro per gli strumenti a secco;
- di vetro stratificato per gli strumenti a riempimento di liquido o su richiesta (variante V17).
• Elemento termometrico
- spirale bimetallica.
• Campi di scala (secondo EN 13190)
o Campi di numerazione: - 0 ÷ 60; 0 ÷ 100; 0 ÷ 120; 0 ÷ 160; 0 ÷ 200; 0 ÷ 250; 0 ÷ 300; 0 ÷ 400; 0 ÷ 500; 0 ÷ 600; -50 ÷ +50; -40 ÷ +60; -20 ÷ +40; -20 ÷ +100; (divisioni secondo tabella C2 a pag. P04)
- altri campi non normalizzati per singola o doppia scala (su richiesta).
o Unità di temperatura:
- °C (gradi Celsius) e °F (gradi Fahrenheit) per singola o doppia scala.
o Angolo della scala:
- 270 °.
• Temperatura di esercizio (riferita al valore di fondo scala)
- da 1/10 a 9/10 circa.
• Sovratemperatura (occasionalmente ammessa)
- 115% del valore di fondo scala.
• Indice
- di alluminio a regolazione micrometrica.
• Quadrante
- di alluminio con scale graduate e scritte in nero indelebile su fondo bianco (per eventuali modifiche vedere le varianti previste).
• Precisione (secondo EN 13190)
- classe 1.
• Gambo sensibile
- vedere a pagina BT02 e BT03.
nota: gli strumenti vengono realizzati con l’attacco G8 (fisso) o G9 (scorrevole) previsti anche per l’eventuale collegamento al pozzetto.
• Pozzetto (vedere a pagina PZ01 e PZ02)
- ricavato da tubo - tipo P2 e P4;
- ricavato da barra - tipo P3 e P5 (le dimensioni ed i materiali vengono stabiliti in sede di ordinazione).
Termometri bimetallici